Save
Ask
Tour
Hide
$250,000
369 Days On Site
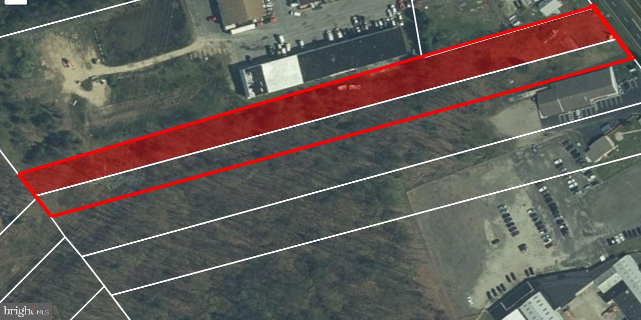
L. 5 N BLACK HORSE PIKEWILLIAMSTOWN, NJ 08094
For Sale|Land|Active
County:
GLOUCESTER
Listing courtesy of Keller Williams Prime Realty
Due to the health concerns created by Coronavirus we are offering personal 1-1 online video walkthough tours where possible.
Call Now: 215-206-1980
Is this the listing for you? We can help make it yours.
215-206-1980



Save
Ask
Tour
Hide
‼️INVESTOR /BUSINESS OWNER ALERT‼️ Great chance to build your business🏢 or commercial rental🏢💸 Located right on the Black Horse Pike. A a highway which sees around 19,100-22,618 cars per day🚗That's upwards of 8.25 Million cars a year🤯Whether your a business owner looking to build a custom space to help your enterprise thrive👨💼, a savvy land developer looking to build something to flip👷, or a commercial investor who'd like to add a brand new state of the art commercial space to their portfolio💰📈, this property will surely not disappoint! Get in contact and schedule your private showing today📲‼️
Save
Ask
Tour
Hide
Listing Snapshot
Price
$250,000
Days On Site
369 Days
Bedrooms
N/A
Inside Area (SqFt)
N/A
Total Baths
N/A
Full Baths
N/A
Partial Baths
N/A
Lot Size
2.92 Acres
Year Built
N/A
MLS® Number
NJGL2051844
Status
Active
Property Tax
$9,220
HOA/Condo/Coop Fees
N/A
Sq Ft Source
N/A
Friends & Family
Recent Activity
| 5 months ago | Price changed to $250,000 | |
| 5 months ago | Listing updated with changes from the MLS® | |
| a year ago | Status changed to Active | |
| a year ago | Listing first seen on site |
General Features
Acres
2.92
Additional Property Use
Vacant
Cross Street
CROSS KEYS
Special Circumstances
Standard
Water Source
Other
Zoning
COM
Save
Ask
Tour
Hide
Exterior Features
View
Street
Waterview
Street
Community Features
MLS Area
Monroe Twp (20811)
School District
MONROE TOWNSHIP PUBLIC SCHOOLS
Schools
School District
MONROE TOWNSHIP PUBLIC SCHOOLS
Elementary School
Unknown
Middle School
Unknown
High School
Unknown
Listing courtesy of Keller Williams Prime Realty
The real estate listing information is provided by Bright MLS is for the consumer's personal, non-commercial use and may not be used for any purpose other than to identify prospective properties consumer may be interested in purchasing. Any information relating to real estate for sale or lease referenced on this web site comes from the Internet Data Exchange (IDX) program of the Bright MLS. This web site references real estate listing(s) held by a brokerage firm other than the broker and/or agent who owns this web site. The accuracy of all information is deemed reliable but not guaranteed and should be personally verified through personal inspection by and/or with the appropriate professionals. Properties in listings may have been sold or may no longer be available. The data contained herein is copyrighted by Bright MLS and is protected by all applicable copyright laws. Any unauthorized collection or dissemination of this information is in violation of copyright laws and is strictly prohibited. Copyright © 2020 Bright MLS. All rights reserved.
The real estate listing information is provided by Bright MLS is for the consumer's personal, non-commercial use and may not be used for any purpose other than to identify prospective properties consumer may be interested in purchasing. Any information relating to real estate for sale or lease referenced on this web site comes from the Internet Data Exchange (IDX) program of the Bright MLS. This web site references real estate listing(s) held by a brokerage firm other than the broker and/or agent who owns this web site. The accuracy of all information is deemed reliable but not guaranteed and should be personally verified through personal inspection by and/or with the appropriate professionals. Properties in listings may have been sold or may no longer be available. The data contained herein is copyrighted by Bright MLS and is protected by all applicable copyright laws. Any unauthorized collection or dissemination of this information is in violation of copyright laws and is strictly prohibited. Copyright © 2020 Bright MLS. All rights reserved.
Neighborhood & Commute
Source: Walkscore
Save
Ask
Tour
Hide
Did you know? You can invite friends and family to your search. They can join your search, rate and discuss listings with you.